• 元宇宙:本站分享元宇宙相关资讯,资讯仅代表作者观点与平台立场无关,仅供参考.

3.5亿从上市公司赎身,这家北京SLG厂商终于自由了

  • 竞核
  • 2022年12月13日07时

既要一招鲜,又要样样通


都说年关难过,游戏行业更是如此,厂商们都攥紧了手里的银子,想要为明年的开年大战保存实力。可偏偏有一家厂商反其道而行,似乎并不为钱担心。


昨日(12月12日),智明星通母公司中文传媒发布公告称,智明星通和江娱互动达成了就后者 13.5% 股权的转让协议。即江娱互动以 3.5 亿元的对价回购了自家的股权。交易完成后,江娱和智明星通将不再存有投资关系。

这家名声不显闷声发财的厂商到底是什么来头?



不是分家而是报恩


说起江娱互动,虽然在国内相当低调,但关注海外市场的读者应该都听过过它的大名。这家成立于 2018 年的年轻公司,凭借风靡全球的《口袋奇兵》(海外名《Top War》)一战成名。然而成功的背后并非偶然,更多的是得益于核心团队在 SLG 品类和出海方面的基因。

事实上,即便没有了投资关系,江娱和智明星通的关系仍是异常亲密的异性兄弟。因为江娱互动的创始人正是智明星通五位创始人之一的吴凌江。在创立之初,江娱互动就获得了智明星通的投资,彼时智明星通的 CEO 还是唐彬森。

随后,同为智明星通高管创立的龙创悦动,以及五位创始人之一的谢贤林所创办的元趣娱乐,都先后成为了江娱互动的股东。

甚至在江娱创业早期,智明星通在投资协议之外,还给予了相当多的帮助。双方约定了在员工人数不超过 50 人之前,智明星通会为江娱提供办公室场所、外围研发和行政法务服务等支持。同时也会协助申请游戏软件著作权和版号资质。

从脉脉上也可以发现,包括技术总监、视频总监、HR负责人等中高级岗位上,都有曾在智明星通任职的员工存在,且入职时间大多在 2019 年前后。或许其中不少都是合并办公室时期结下的缘分,愿意跟随吴凌江一同创业。

所以此番回购股权可能也算是江娱对智明星通的投桃报李。当初 2000 万左右的投资,在短短的 4 年多时间内,暴涨到了 3.5 亿元,18 倍的收益绝对称得上是一份厚重的谢礼了。

此外,据此前智明星通公告,江娱互动去年全年实现收入 31.46 亿元,净利润 9200 万元。而到了今年上半年,收入稳增至 19.35 亿元的同时,净利润暴涨至 2.03 亿元。结合公司约 26 亿的总估值,本次江娱回购的 PE 倍数也来到了 13 倍。和同期 A 股 32 家游戏公司平均在 40-50倍的市盈率来比较,还处在一个较低的水平,具备很强的成长空间。

换一个角度想,能够在行业环境仍处寒季的当下,选择支出大笔现金来回购股权,一方面说明了公司目前的现金流储备非常丰沛,在完成明年的开年预算后还能有余力进行回购。这无疑是旗下王牌产品《口袋奇兵》给与的底气。

另一方面,回购也说明江娱对未来的发展非常有信心,旗下的在研产品展现出了推动公司持续发展的潜力,使得江娱有意愿收拢股权掌握主动。或许也意味着后续江娱在资本和融资方面,可能会出现新的变化。



口袋奇兵的成功并非偶然


作为江娱互动的最大依仗,2020 年上线的《Top War》,至今已进入过 128 个市场的 iOS 游戏畅销榜 Top10。根据 Sensor Tower 统计,游戏上线至今在全球范围内共收获了超 6.4 亿美元的收入(不含中国大陆市场)。

于此同时,进入流水平稳期后,游戏也开始展现出一款 SLG 游戏的绵长生命力。能够帮助江娱长期位列出海厂商月收入榜的前段。

《口袋奇兵》之所以能够在竞争异常激烈的 SLG 赛道冲出重围,关键是在吸量和留存上做到了突破。落实到具体设计上,就是在核心玩法上进行了休闲化的创新,将同类合成融合进了建筑和兵种的升级中。

听上去确实有些魔幻,以肝度著称的 SLG 却要玩合成。但实际上,重度游戏的轻量化是近年来的主流趋势,不止 SLG ,MMO、卡牌等中重度类型都在玩法上,做着不同形式和程度的减法。从在市场上大行其道的“放置+”类型就可见一斑。

江娱对市场的感知和预判显然走在了很多厂商的前面,并且对玩法休闲化的分寸也拿捏的恰到好处。

游戏用合成玩法替换了 SLG 游戏初期较为枯燥的收集和建造环节,使得游戏的整体节奏更为平滑快速。在大概半个小时的、正反馈极其密集的新手引导期后,新玩家就能接触到核心的 PVP 战斗部分,而不是把时间和注意力都消耗在建筑升级的等待上。有效提升了游戏初期的用户留存问题。

而在新用户的吸量方面,游戏更为轻度休闲的上手感受、明快的美式动漫画风,能够适配更广泛的用户群体。且合成玩法也给买量广告提供了很好的素材。想必大家应该都在不同渠道见过海面上地块合成变大,士兵合成升级的视频素材。


同时,《口袋奇兵》也是第一批在投放素材上采用休闲小游戏进行吸量的产品。玩家确实可以在小游戏中心里体验到这些玩法。不过较难发现的入口,不到 2 分钟的总流程,以及和主玩法没有关联的设计,显然说明了这只是一个吸量的手段。

值得提出的是,虽然游戏在经营建造层面选择了轻量化,但收入水平并没有因此在同类中落于人后。主要原因在于游戏在数值养成方面进行了更多的拓展和深化。不断推出具备不同能力新英雄,并设计了技能、升星等多个维度的养成空间。当然,这些养成空间也都是游戏的主要氪金点。

目前,《口袋奇兵》在全球范围内,已经积累了 1.8 亿的下载量,月活也突破了 1500 万人。不过江娱对此并不满足,这款明星产品开始将跨平台纳入下一步的计划,首战便是 PC 网页端。

“产品立项之初便是手游,后续想要拓展更多空间,另外网页版开发成本并不高,于是便是开始做了。”《口袋奇兵》网页版的广告投放负责人宋志京如是解释道。

这次跨平台的尝试从结果来看相当成功。官方披露的数据显示,游戏网页版上线后实现了超 300 万的纯新增用户。PC 网页端成为了移动端的扩圈和补充,并且这样的跨平台模式在未来或许可以复制到其他产品中,成为一个稳定的获客渠道。



爆款的后继者还需等待


《口袋奇兵》的成功,让江娱有了一个稳固的现金牛作为基本盘,可以更从容的着手新产品的研发。目前,江娱旗下已有一款已上线产品和两款在研产品。

其中,已上线的《Zgirls 3》并非江娱自研,而是旗下控股 70% 的子公司北京星狐网络负责研发。游戏采用了二次元+SLG 的组合,以期能够结合双方的优势达到 1+1>2 的效果,然而结果却差强人意。今年 10 月在港台、日本等地区上线时,在经过最初几日的冲高后,便快速下滑至 iOS 免费榜 500 名以后。

虽然游戏已经在 SLG 玩法上做了轻量化,并且在人物立绘的暴露尺度上有所放开。但 SLG 用户和二次元受众的重合度并不高,同时游戏较为单薄的剧情和人物塑造,显然也无法吸引更多的核心二次元用户进入其中。

不过,江娱在题材上寻求差异化的策略并没有一款游戏的失利而调转船头。另外两款关于黑帮和航海题材的在研游戏,仍然在题材和玩法上延续着差异化思路。

提到黑帮题材,虽然在国内不可能过审,但在美国、日本这些有黑帮历史和强消费能力的头部市场中颇有号召力。而其中最著名的手游产品,自然是友塔游戏旗下的《Mafia City》。该作曾在 34 个国家拿到过策略游戏畅销榜第一的名次,作为元老级产品直接带火了这一题材。

江娱显然也希望能借助题材之便,在这些市场获得更多的收益和更大的影响力。但出乎笔者意料的是,这款新游的玩法竟然不再是 SLG,而是休闲程度进一步加深的放置卡牌类型。角色的养成提升代替了策略战斗,成为主要的乐趣点。

不过,游戏还是设计了称之为帮派的玩家组织。它能够实现玩家间的聚合和交流,同时鼓励不同帮派间相互攻伐争斗,带来类似 SLG 的 PVP 对抗。通过社交成就感和玩家间冲突,刺激玩家不断进行数值养成。这也可以看作是江娱基于自身长处进行的新品类拓展试水。

另一款航海题材的在研产品也是江娱的拓展方向之一,核心玩法为 RPG 冒险,玩家控制自己的小船在大海上不断探索和升级,并与敌人进行战斗。同时,竖屏模式简化操作,养成维度更加简练,都说明更休闲更大 DAU 的产品,或许是江娱下个阶段的主要方向。

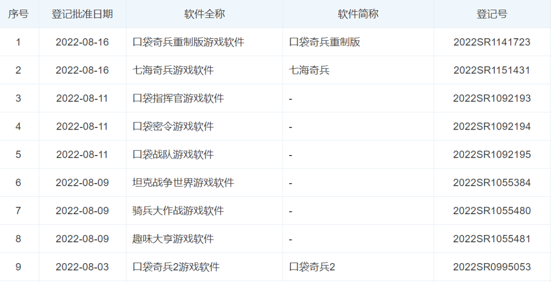
从公司的软著申报情况也可以发现,《七海奇兵》或许就是这款产品的国服名称。同时,江娱也已申请了多款名为“七海奇兵”、“航路奇兵”的商标,游戏大概率会在国内市场上线。此外,软著申报记录中,《口袋奇兵2》和《口袋奇兵重制版》两款产品也格外引人瞩目。

目前,这两款产品上还没有公开的信息透露,江娱内部制作人的脉脉介绍中提及了这款产品的海外名为《Top War Commander》。据传游戏此前已在海外部分地区开启过小规模测试,目前未有披露可能因测试数据不及预期。

这从江娱目前的招聘情况也能看出些许端倪。江娱正在组建一个新团队,从主策主程这些核心岗位,到资深 U3D 资深策划这些高级职位都发布了需求。

同时,从岗位要求也可以发现,新团队负责的项目主打休闲竞技品类,在玩法上类似老牌 SLG 产品《部落冲突》。同时在美术上也采用了美式动漫画风的全 3D 模型,这些似乎都和《口袋奇兵》相吻合。

不过,无论续作是否换帅操刀,江娱严谨的态度都体现出其对游戏品质的追求,和对外玩家体验的重视。相信《口袋奇兵2》和《七海奇兵》都能再度给玩家带来充满趣味的绝佳体验。



稿luoxuanwan111

Copyright © 2021.Company 元宇宙YITB.COM All rights reserved.元宇宙YITB.COM