• 元宇宙:本站分享元宇宙相关资讯,资讯仅代表作者观点与平台立场无关,仅供参考.

神棍宇宙?发电机突破能量守恒定律,又一个「永动机」被打脸!

  • 新智元
  • 2021年10月01日12时



新智元报道

来源:知乎

编辑:好困

【新智元导读】专利号?专利请号?多说一句就算你输的「民科」为何凭借一个「编号」就能到处坑蒙拐骗?


一生二,二生三,三生万物。
由此可见,1度电也能生10度电!
据新京报报道,南宁隆生达发电力科技公司宣称,研发出自循环发电机并获国家专利证书,产品不用材料组装后就可以无限发电。
9月29日,该公司负责人虽然承认存在虚假宣传,但仍坚称自家产品能1度电是能发10度电。
@烂泥山人对此调侃道:「建议把他和新青年汽车加水就能跑的负责人,和靠意念让熟鸡蛋反生孵出小鸡的老师加到一个群里,群名就叫『神棍宇宙』。」


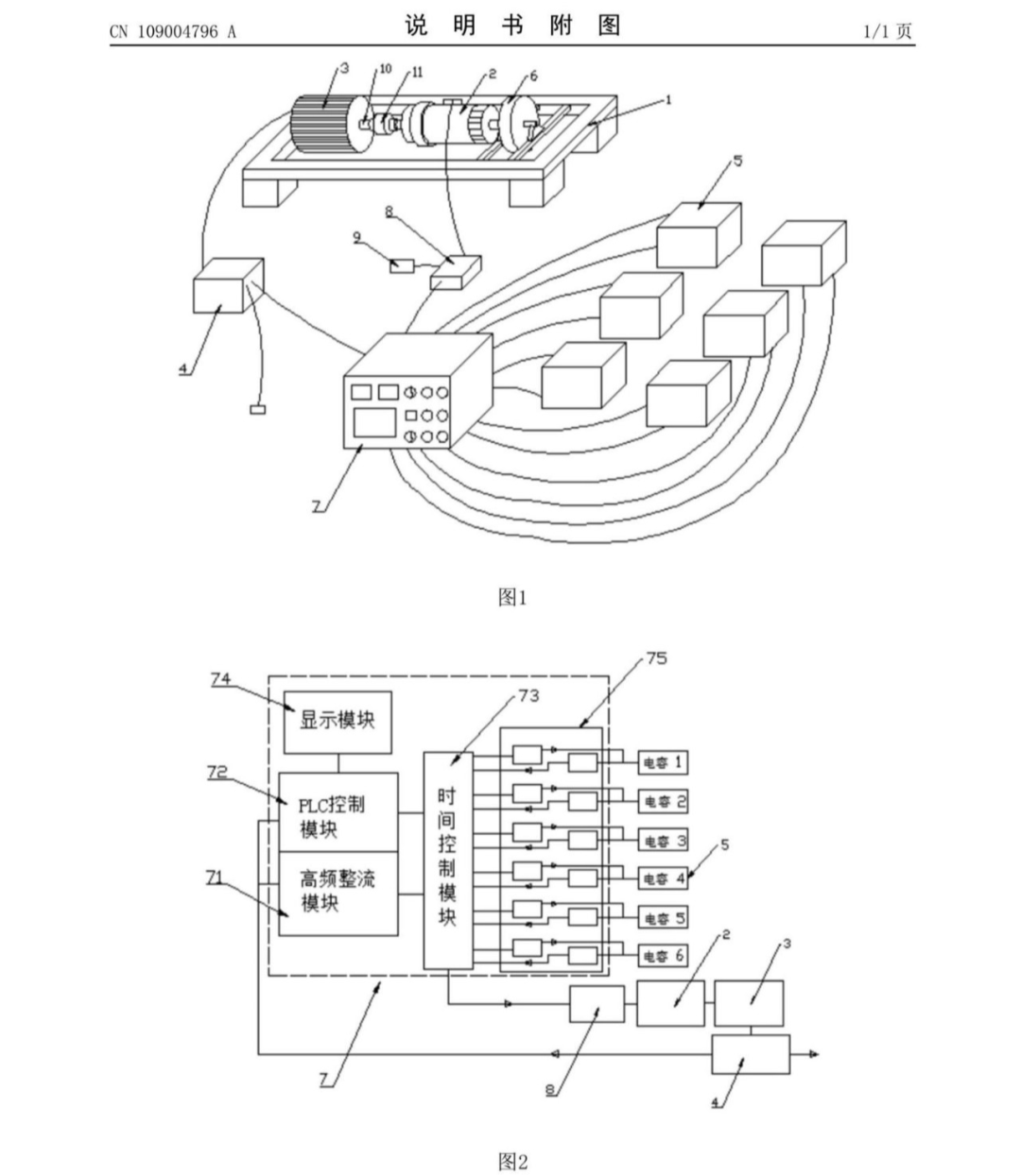
自循环发电系统


我们先来拜读一下这个新时代的「永动机」:
一种电容补偿式自循环发电系统,包括支架、电动机、发电机、稳压器和电容,所述电动机一端通过轴承、减速器与发电机相连,另一端通过轴承与惯性飞轮相连;所述发电机的输出端与稳压器相连,所述稳压器的输出端分成两路,一路外接使用,另一路与控制器相连,控制器还与电动机控制器及与两组以上的电容相连,所述电动机控制器与电动机相连;控制器控制电容充电,同时将已充满电的电容的电量输送给电动机控制器,用于驱动电动机的转动。
使用前,先将电容充满电;使用时,通过控制器,使其中一组电容给电动机供电,启动电动机。电动机高速转动,并通过轴承及减速器带动发电机低速转动,转速的降低,可使发电机的功率有数倍的提高;发电机发出的电经过稳压器整流后,大部分输出给其它设备使用;少部分通过控制器给已放电的电容充电。与此同时,控制器使另一组已经充满电的电容给电动机供电,补偿电动机的功率。飞轮的设置也克服了发电机发电时的部分阻力,使电动机、发电机能无限循环发电。

好吧,内容有点长……
简单来说就是,通过电容无限做功补偿,同时通过减速器提高功率,并通过惯性飞轮补偿功率,使发电系统达到自动循环运行,并能源源不断地给外部提供电能。
这种专利是怎么通过的?
先别急,因为,它根本还没通过!
「实质审查生效」读起来可能有些晦涩难懂,其实就是审查员正在核实专利,如果符合授权条件,就授予专利权,否则就驳回。也就是说,在这个状态下是还没有获得专利权的。
天眼查披露的信息更为直观一些,显而易见,该专利还未获得授权。
国家知识产权局可是有在认真审核的,这个锅,不背。

又一次无视物理学定律?


在「突破」之前,还是先来复习一下能量守恒定律和热力学定律:
  • 能量守恒定律定义了在孤立系统中总能量是保持不变的。如果一个系统处于孤立环境,即不能有任何能量或质量从该系统输入或输出。此外,能量不能无故生成,也不能无故摧毁,但它能够改变形式。


  • 热力学第零定律定义了温度这一物理量,指出了相互接触的两个系统,热流的方向。


  • 热力学第一定律指出内能这一物理量的存在,并且与系统整体运动的动能和系统与环境相互作用的势能是不同的,区分出热与功的转换。


  • 热力学第二定律涉及的物理量是温度和熵。熵是研究不可逆过程引入的物理量,表征系统透过热力学过程向外界最多可以做多少热力学功。


  • 热力学第三定律认为,不可能透过有限过程使系统冷却到绝对零度。

通过「能量守恒定律」可以证明:第一类永动机不存在。
通过「热力学第二定律」可以证明:第二类永动机不存在。
电气工程硕士@李子寒泉表示,凭借着自己丰富的想象力和扎实的电力知识,基本己经弄清楚了这种突破能量守恒定律的自发电系统了:
由于这个所谓的「专利」太明显地违背了常识,反而不用去解释技术上的问题了。
反倒是「专利」相关的知识需要普及一下。
官网上给出的「201810894414」其实是不完整的,因为这个编号应该是十三位。但没有关系,@Yashin表示最后一位其实可以通过计算得出:
从第1位到第12位数字依次以下列变量代表:X4, X3, X2, X1, Y, Z7, Z6, Z5 ,Z4 ,Z3 ,Z2 ,Z1。校验位的计算公式为:
(X4*2+X3*3+X2*4+X1*5+Y*6+Z7*7+Z6*8+Z5*9+Z4*2+Z3*3+Z2*4+Z1*5)MOD(11)
余数为几,校验位就为几,如果余数为10,则对应的为校验位为X。
经过计算,尾数为1。
现在,有了完整的专利申请号「201810894414.1」,就可以开始「去伪存真」了。
除了「专利申请」和「专利授权」这两个完全不一样的概念以外,想找到对应的专利还需要用公式算一波。
讲道理,还是些许有那么一些门槛的。

此外,@一只阿柴指出,一般来说,把专利送过去,就会有一个专利申请号,但是专利申请号不等于专利号。

虽然初审基本上看一眼就过了,但是到了实审阶段,评估一看不靠谱就不会给过。然而,因为专利申请期很长,如果不缴纳实审的审核费用,那就永远卡在审中的状态,甚至可以卡三年。

很多民科为了骗人,就一直卡这个实审BUG,把专利申请号当专利版号来骗人。


到底是个什么骗子公司?


天眼查显示,「广西南宁隆生达发电力科技有限公司」成立于2018年11月,注册资本100万元,叶占广持股84%。
此处划个重点:参保人数为「0」。
隆生达在官网上表示自己是一家「属于国家高科技,国家新能源,高科技企业」。
公司的技术「不需要任何原材料、不受任何外界干扰,只利用自身储存电源起动,就源源不断的发电和输送电」,因此「完全突破了能量守恒定律,通过电子杠杆和机械杠杆的原理,达到无功补偿自循环发电的效果」。
除了公司名称里「发电力」这个奇怪的词以外,「专利」里用的描述「无限做功补偿」,到了网站上也变成了「无功补偿」。
看来不仅是没学过中学物理,连小学语文大概都没及格。九年义务教育还需要加强普及啊。
此外,该公司还称其专利CN201810894414.1「已经获得国家专利局颁发专利证书」。不过,通过之前的描述已经可以了解到,所谓的专利根本就没有得到授权。
这个「虚假宣传」显然是做实了。当然,他自己后来也承认了这一点。
目前公司的官网「www.lsdf88.com」已经无法访问。
不难发现,其实这里还涉及到一家名为「广西克莱因电力科技」的公司,而且这个看起来更厉害,注册资本高达6000万人民币,叶占广的股权比例为96.2%。
当然了,不管是100万人民币还是6000万人民币,实缴资本都没有数据。
从经营范围上看,「广西南宁隆生达发电力科技有限公司」的可就太广了,不过针对今天这个来说主要是第一条「电力设备的研发」。
那么对于「广西克莱因电力科技有限公司」来说,其经营范围包括发电机及发电机组制造、发电技术服务等。
这莫非是实现了「自产自销」的闭环?
对于这件事,有些人认为,但凡和伪科学辩论一句,就算你输。
但是,你还记得那个「水变氢」的项目么?


参考资料:
https://www.zhihu.com/question/489872542

https://www.zhihu.com/question/489625867




Copyright © 2021.Company 元宇宙YITB.COM All rights reserved.元宇宙YITB.COM