• 元宇宙:本站分享元宇宙相关资讯,资讯仅代表作者观点与平台立场无关,仅供参考.

爆料丨网传苹果春季发布会定档3月8日,Apple Car新专利曝光

  • 科技美学
  • 2022年2月06日08时
虽然苹果官方并未正式确认,但相关的消息却显示,苹果确定会在今年推出全新的iPhone SE系列新机。
以往的消息曾提到,苹果可能会在3~4月期间带来这一新品的发布活动,但最新的消息却给出了一个更确切的发布会时间。
据悉,来自消息人士的爆料称,苹果将在3月8日带来新品发布活动。在这次活动中,除了已经被多次曝光的iPhone SE新品外,苹果还有望推出全新的iPad Air 5。
同时,最新的爆料中还提到,在这次发布活动中,除了硬件产品更新外,还将发布iOS 15.4正式版。
据悉,在这次更新中苹果添加了一项新功能,旨在允许面容 ID 在佩戴口罩的时候可以正常识别解锁。且与此前的Apple Watch解锁不同,这一新功能可以验证支付。
同时,在这一全新技术的支持下,用户可以在佩戴口罩的情况下,通过面容ID来自动在应用中填写已保存的用户名和密码。
相应的报道显示,这一全新功能目前看来,暂时只能在iPhone 12和iPhone 13系列中应用。而目前距离爆料中提到的正式版发布时间还有着一段距离,届时是否会覆盖更多的机型暂时也还不能确定。
除了可能会到来的春季新品发布活动,以往的消息还显示,苹果正在加速研发苹果汽车,有望最早于2025年推出首款汽车产品。
虽然关于苹果造车进程目前有着多种不同的说法,但相关的产品专利却陆续曝光在了网络上。
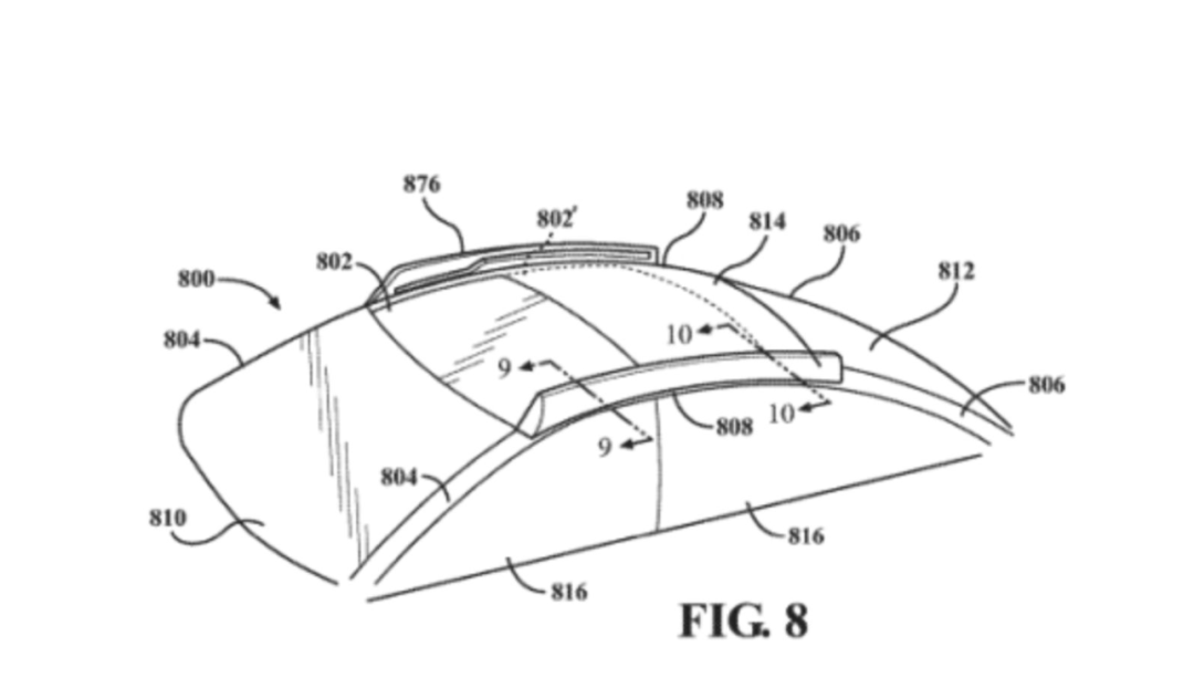
近日一项苹果旗下电动汽车天窗技术相关的专利出现了曝光。
相关的消息显示,该专利可以让用户自己调整车顶天窗的透明度。这将有助于根据外面的天气和环境改变进入的自然光量,且该技术还可以同时应用在车辆顶部天窗与汽车侧窗上。
曝光的文件信息中还有一部分专利设计示意图,这些图片展示了该专利的运行机制。
目前,苹果汽车相关的消息暂时还没有来自官方的确认,但陆续曝光的专利信息似乎可以证明苹果确实在做着相关领域的探索。


近期文章精选:
【年终盘点】苹果这一年:库克就任10周年,6年来首次登顶国内手机市场
2022年初换机推荐④5000以上机型推荐——买折叠屏才够个性
2022年初换机推荐③3000~5000机型推荐
2022年初换机推荐②2000~3000元价位段机型推荐
2022年初换机推荐①2000以内价位段
商务合作 kejimeixue@163.com

Copyright © 2021.Company 元宇宙YITB.COM All rights reserved.元宇宙YITB.COM